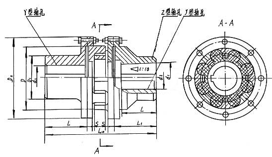
LMS(原MLS)型- 雙法蘭型梅花形彈性聯軸器(GB5272-2002替代GB5272-85)
●適用范圍和性能特點
1.LMS(原MLS)型- 雙法蘭型梅花形彈性聯軸器 梅花形彈性聯軸器具有以下特點:花形彈性聯軸器結構簡單,徑向尺寸小,重量輕,轉動慣量小,適用于中高速場合,梅花形彈性聯軸器工作穩定可靠,具有良好的減振、緩沖和電絕緣性能。梅花形彈性聯軸器具有較大的軸向、徑向和角向補償能力,梅花形彈性聯軸器高強度聚氨酯彈性元件耐磨耐油,承載能力大,使用壽命長,安全可靠,聯軸器無需潤滑,維護工作量少,可連續長期運行。
梅花形彈性聯軸器主要適用于起動頻繁、正反轉、中高速、中等扭矩和要求高可靠性的工作場合,例如:冶金、礦山、石油、化工、起重、運輸、輕工、紡織、水泵、風機等。工作環境溫度 -35℃~+80℃,傳遞公稱扭矩25~12500Nm,許用轉速1500~15300r/min。
ML系列梅花形彈性聯軸器主要由兩個帶凸齒密切嚙合并承受徑向擠壓以傳遞扭矩,當兩軸線有相對偏移時,彈性元件發生相應的彈性變形,起到自動補償作用。
LMS(原MLS)型- 雙法蘭型梅花形彈性聯軸器基本性能參數和主要尺寸


零間隙梅花聯軸器仍然遵循以往在國內的增長模式,單一盯住出口額,絕不是長遠之道,因此,企業須順應經濟發展的潮流,轉換經營思想和理念,在不斷發展產品經營的同時,高度重視資本經營在企業發展中的作用。星形聯軸器同時,還為貴州黎陽機械廠、沈陽 606 所、 7105 工廠、成都航空發動機公司等航空企業提供了數控重型機床和加工中心等關鍵加工設備。在這屆展示全球機床高端產品的盛大 “ 宴會 ” 上,江蘇亞威機床有限公司參展的 “ 中國名牌 ” 產品高精密數控折彎機與數控剪板機,受到來自全球數以千計的機床生產廠家和經銷商的青睞。低間隙梅花聯軸器聯軸器 ROTEX couplings couplings couplings couplings al-035 三木
聚氨酯聯軸器 GR 90 ROTEX-GS 90 es 90 trasco 90 es 65 cl-150 lovejoy
聚氨酯聯軸器 sit spa ktr kupplungstechnik gmbh made in italy made in germany coupling miki pulley
聯軸器 sit spa ktr kupplungstechnik gmbh made in italy made in germany coupling miki pulley 64 sha
進口 進口 進口 進口 進口 進口 進口 進口
梅花塊 GR 125 ROTEX-GS 125 es 125 trasco 125 sprflex coupling mikipulley EK1/450
彈性聯軸器 GR 65 ROTEX-GS 65 es 65 trasco 65 es 48 cl-100 lovejoy
servomax EKL/150 EKH/300 EK1/150 RW R+W ANTRIEBSELEMENTE GMBH EK2/60 EK6/300
彈性體 GR 19 ROTEX-GS 19 es 19 trasco 19 es 9 al-070 三木
彈性塊 sit spa ktr kupplungstechnik gmbh made in italy made in germany coupling miki pulley 92 SHA
梅花聯軸器 GR 14 ROTEX-GS 14 es 14 trasco 14 es 7 al-050 三木
-
全國免費咨詢熱線:15231779607
電話:0317-8223939
傳真:0317-8263317
郵箱:13603176160@163.com
地址:河北省泊頭市工業開發區
-
掃碼聯系我們